Lexus ES manuals

Lexus ES: Drive Belt

Precaution

PRECAUTION

NOTICE:

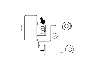
  • Do not apply or add any oil or grease to the belt tensioner to prevent abnormal noises from the belt tensioner pulley, belt squealing, etc.
  • Do not allow oil or grease to adhere to the moving parts of the belt tensioner, as this may cause malfunctions.

If oil or grease is on the location indicated by the arrow, replace the belt tensioner.

Components

COMPONENTS

ILLUSTRATION

*1

FRONT FENDER APRON SEAL RH

*2

V-RIBBED BELT

N*m (kgf*cm, ft.*lbf): Specified torque

-

-

On-vehicle Inspection

ON-VEHICLE INSPECTION

CAUTION / NOTICE / HINT

CAUTION:

To prevent injury due to contact with an operating V-ribbed belt or cooling fan, keep your hands and clothing away from the V-ribbed belt and cooling fans when working in the engine compartment with the engine running or the engine switch on (IG).

PROCEDURE

1. INSPECT V-RIBBED BELT

(a) Check the V-ribbed belt for wear, cracks or other signs of damage.

HINT:

If any of the following defects is found, replace the V-ribbed belt.

  • The V-ribbed belt is cracked.
  • The V-ribbed belt is worn to the extent that the cords are exposed.
  • The V-ribbed belt has chunks missing from the ribs.

(b) Check that the V-ribbed belt fits properly in the ribbed grooves.

HINT:

Make sure to check by hand that the V-ribbed belt has not slipped out of the grooves on the bottom of the pulley. If it has slipped out, replace the V-ribbed belt. Install a new V-ribbed belt correctly.

*a

Correct

*b

Incorrect

Removal

REMOVAL

PROCEDURE

1. REMOVE FRONT WHEEL RH

Click here

2. REMOVE FRONT FENDER APRON SEAL RH

Click here

3. REMOVE V-RIBBED BELT

Click here

Installation

INSTALLATION

PROCEDURE

1. INSTALL V-RIBBED BELT

Click here

2. INSTALL FRONT FENDER APRON SEAL RH

Click here

3. INSTALL FRONT WHEEL RH

Click here

READ NEXT:

 Engine

 On-vehicle Inspection

ON-VEHICLE INSPECTION CAUTION / NOTICE / HINT CAUTION: To prevent injury due to contact with an operating V-ribbed belt or cooling fan, keep your hands and clothing away from the V-ribbed belt and co

 On-vehicle Inspection

ON-VEHICLE INSPECTION CAUTION / NOTICE / HINT CAUTION: To prevent injury due to contact with an operating V-ribbed belt or cooling fan, keep your hands and clothing away from the V-ribbed belt and co

SEE MORE:

 Portable Player cannot be Connected Manually/Automatically

CAUTION / NOTICE / HINT HINT: Some versions of "Bluetooth" compatible audio players may not function properly, or the functions may be limited using the radio receiver assembly, even if the portable audio player itself can play files. Click here PROCEDURE 1. CHECK CONNECTED DEVICE SETTINGS

 Transmission Range Sensor "A" Circuit (PRNDL Input) Signal Compare Failure (P070562)

DESCRIPTION The shift lever position sensor sends 7 different switch signals to the hybrid vehicle control ECU. The hybrid vehicle control ECU uses these signals to detect the shift lever position (P, R, N or D). The hybrid vehicle control ECU also uses this information to determine the intended dir

© 2016-2025 Copyright www.lexguide.net