Lexus ES manuals

Lexus ES: Touch Pad Sensor Malfunction (B1559)

DESCRIPTION

This DTC is stored if the remote touch (remote operation controller assembly) detects a malfunction in itself, such as internal hardware failure or remote touch screen sensor malfunction.

DTC No.

Detection Item

DTC Detection Condition

Trouble Area

B1559

Touch Pad Sensor Malfunction

Internal remote touch screen sensor malfunction

Remote touch (remote operation controller assembly)

PROCEDURE

1.

CHECK DTC

(a) Clear the DTCs.

Body Electrical > Navigation System > Clear DTCs

(b) Recheck for DTCs and check that no DTCs are output.

Body Electrical > Navigation System > Trouble Codes

OK:

No DTCs are output.

HINT:

  • If DTC B155B is output, perform troubleshooting for DTC B155B first.

    Click here

  • Remote touch screen touch detection is performed using the electrostatic sensor and G sensor. However, there is no effect on the basic functions of the remote touch screen when the G sensor is not operating. Therefore, a counter is used to prevent DTCs from being output immediately (in order to reduce excessive DTC output). Therefore, when DTCs are not output, it is necessary to turn the power switch from on (ACC) to off and check for DTCs again.
OK

USE SIMULATION METHOD TO CHECK

NG

2.

REMOTE TOUCH (REMOTE OPERATION CONTROLLER ASSEMBLY) SELF CHECK (CHECK REMOTE TOUCH SCREEN OPERATION POSITION RECOGNITION CONDITION)

(a) Enter self-diagnostic mode.

Click here

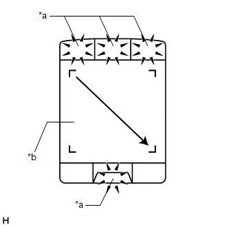
(b) Operate the remote touch screen diagonally from the upper left to the lower right and check that the brightness of the switch illumination changes.

NOTICE:

Since the remote touch screen may recognize a pinch in/out operation if operated with 2 fingers, always use 1 finger to operate the remote touch screen in self-diagnostic mode.

OK:

Brightness changes according to remote touch screen operation.

Result

Proceed to

Brightness of the switch illumination changes according to remote touch screen operation.

A

Brightness of the switch illumination does not change according to remote touch screen operation.

B

Switch illumination continues to blink.

*a

Switch Illumination

*b

Remote Touch Screen

B

REPLACE REMOTE TOUCH (REMOTE OPERATION CONTROLLER ASSEMBLY)

A

3.

CHECK DTC

(a) Clear the DTCs.

Body Electrical > Navigation System > Clear DTCs

(b) Turn the power switch off.

(c) Turn the power switch on (ACC) and wait for 40 seconds.

(d) Recheck for DTCs and check that no DTCs are output.

Body Electrical > Navigation System > Trouble Codes

OK:

No DTCs are output.

HINT:

Remote touch screen touch detection is performed using the electrostatic sensor and G sensor. However, there is no effect on the basic functions of the remote touch screen when the G sensor is not operating. Therefore, a counter is used to prevent DTCs from being output immediately (in order to reduce excessive DTC output). Therefore, when DTCs are not output, it is necessary to turn the power switch from on (ACC) to off and check for DTCs again.

OK

USE SIMULATION METHOD TO CHECK

NG

REPLACE REMOTE TOUCH (REMOTE OPERATION CONTROLLER ASSEMBLY)

READ NEXT:

 GVIF Disconnected (from Park Assist/Monitoring ECU to EMV/MM Integrated Device) (B1574)

DESCRIPTION DTC No. Detection Item DTC Detection Condition Trouble Area B1574 GVIF Disconnected (from Park Assist/Monitoring ECU to EMV/MM Integrated Device) GVIF disconnected (from p

 GVIF Disconnected (from EMV/MM Integrated Device to Multi Display) (B1575)

DESCRIPTION The radio receiver assembly and multi-display assembly are connected via video signal (digital) lines. This DTC is stored when a video signal (digital) line is disconnected. DTC No. D

 Voice Recognition Microphone Disconnected (B1579)

DESCRIPTION The radio receiver assembly and telephone microphone assembly are connected to each other using the microphone connection detection signal lines. This DTC is stored when a microphone conne

SEE MORE:

 Internal Control Module Accelerator Pedal Position Performance Internal Electronic Failure (P060D49)

MONITOR DESCRIPTION The ECM monitors the input signals of the No. 1 accelerator pedal position sensor. If the input signals and control signals deviate, this DTC is stored. DTC No. Detection Item DTC Detection Condition Trouble Area MIL Memory Note P060D49 Internal Control Modul

 Motor Circuit (C1428)

DESCRIPTION DTC No. Detection Item INF Code DTC Detection Condition Trouble Area MIL Note C1428 Motor Circuit 611 1160 INF Code: 611 An open or short in the ABS motor circuit is detected for 2 seconds or more. INF Code: 1160 The ABS motor voltage is 18.5 V or m

© 2016-2026 Copyright www.lexguide.net