Lexus ES: SRS airbags
The SRS airbags inflate when the vehicle is subjected to certain types
of severe
impacts that may cause significant injury to the occupants. They work together
with the seat belts to help reduce the risk of death or serious injury.
SRS airbag system
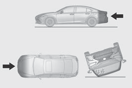
■ Location of the SRS airbags

SRS front airbags
- SRS driver airbag/front passenger airbag
Can help protect the head and chest of the driver and front passenger from
impact with interior components
- SRS knee airbags
Can help provide driver and front passenger protection
SRS side and curtain shield airbags
- SRS front side airbags
Can help protect the torso of the front seat occupants
- SRS rear side airbags
Can help protect the torso of occupants in the rear outer seats
- SRS curtain shield airbags
- Can help protect primarily the head of occupants in the outer seats
- Can help prevent the occupants from being thrown from the vehicle in
the event of vehicle
rollover
■ SRS airbag system components

- Front passenger occupant classification system (ECU and sensors)
- Knee airbags
- Front passenger airbag
- Curtain shield airbags
- Side impact sensors (front doors)
- Seat belt pretensioners and force limiters
- Side impact sensors (front)
- Front side airbags
- Side impact sensors (rear)
- Rear side airbags
- Driver airbag
- SRS warning light
- Driver's seat position sensor
- Driver's seat belt buckle switch
- Airbag sensor assembly
- "AIR BAG ON" and "AIR BAG OFF" indicator lights
- Front passenger's seat belt buckle switch
- Front impact sensors
Your vehicle is equipped with ADVANCED AIRBAGS designed based on the US
motor vehicle safety standards (FMVSS208). The airbag sensor assembly (ECU)
controls airbag deployment based on information obtained from the sensors etc.
shown in the system components diagram above. This information includes crash
severity and occupant information. As the airbags deploy, a chemical reaction in
the inflators quickly fills the airbags with non-toxic gas to help restrain the
motion of
the occupants.
■If the SRS airbags deploy (inflate)
- Slight abrasions, burns, bruising etc., may
be sustained from SRS airbags, due to the
extremely high speed deployment (inflation)
by hot gases.
- A loud noise and white powder will be
emitted.
- Parts of the airbag module (steering
wheel hub, airbag cover and inflator) as
well as the front seats, parts of the front
and rear pillars, and roof side rails may be
hot for several minutes. The airbag itself
may also be hot.
- The windshield may crack.
- The interior lights will turn on automatically.
- The emergency flashers will turn on automatically.
- For Lexus Enform Safety Connect subscribers,
if any of the following situations
occur, the system is designed to send an
emergency call to the response center,
notifying them of the vehicle's location
(without needing to push the "SOS" button)
and an agent will attempt to speak
with the occupants to ascertain the level
of emergency and assistance required. If
the occupants are unable to communicate,
the agent automatically treats the
call as an emergency and helps to dispatch
the necessary emergency services.
- An SRS airbag is deployed.
- A seat belt pretensioner is activated.
- The vehicle is involved in a severe rear-end
collision.
■SRS airbag deployment conditions (SRS
front airbags)
- The SRS front airbags will deploy in the
event of an impact that exceeds the set
threshold level (the level of force corresponding
to an approximately 12 - 18
mph [20 - 30 km/h] frontal collision with
a fixed wall that does not move or
deform).
However, this threshold velocity will be
considerably higher in the following situations:
- If the vehicle strikes an object, such as a
parked vehicle or sign pole, which can
move or deform on impact
- If the vehicle is involved in an underride
collision, such as a collision in which the
front of the vehicle underrides, or goes
under, the bed of a truck
- Depending on the type of collision, it is
possible that only the seat belt pretensioners
and SRS knee airbags will activate.
- The SRS front airbags for the front passenger
will not activate if there is no passenger
sitting in the front passenger seat.
However, the SRS front airbags for the
front passenger may deploy if luggage is put in the seat, even if the seat
is unoccupied.
■SRS airbag deployment conditions (SRS
side and curtain shield airbags)
- The SRS side and curtain shield airbags
will deploy in the event of an impact that
exceeds the set threshold level (the level
of force corresponding to the impact
force produced by an approximately
3300 lb. [1500 kg] vehicle colliding with
the vehicle cabin from a direction perpendicular
to the vehicle orientation at an
approximate speed of 12 - 18 mph [20 -
30 km/h]).
- Both SRS curtain shield airbags may
deploy in the event of a severe side collision.
- Both SRS curtain shield airbags will
deploy in the event of vehicle rollover.
- Both SRS curtain shield airbags may also
deploy in the event of a severe frontal collision.
■Conditions under which the SRS airbags
may deploy (inflate), other than a
collision
The SRS front airbags and SRS curtain
shield airbags may also deploy if a serious
impact occurs to the underside of your
vehicle. Some examples are shown in the
illustration.
- Hitting a curb, edge of pavement or hard
surface
- Falling into or jumping over a deep hole
- Landing hard or falling

The SRS curtain shield airbags may also
deploy under the situations shown in the
illustration.
- The angle of vehicle tip-up is marginal.
- The vehicle skids and hits a curb stone.

■Types of collisions that may not deploy
the SRS airbags (SRS front airbags)
The SRS front airbags do not generally
inflate if the vehicle is involved in a side or
rear collision, if it rolls over, or if it is involved
in a low-speed frontal collision. But, whenever
a collision of any type causes sufficient
forward deceleration of the vehicle, deployment
of the SRS front airbags may occur.
- Collision from the side
- Collision from the rear
- Vehicle rollover

■Types of collisions that may not deploy
the SRS airbags (SRS side and curtain
shield airbags)
The SRS side and curtain shield airbags
may not activate if the vehicle is subjected
to a collision from the side at certain angles,
or a collision to the side of the vehicle body
other than the passenger compartment.
- Collision from the side to the vehicle
body other than the passenger compartment
- Collision from the side at an angle

The SRS side airbags do not generally
inflate if the vehicle is involved in a frontal or
rear collision, if it rolls over, or if it is involved
in a low-speed side collision.
- Collision from the front
- Collision from the rear
- Vehicle rollover

The SRS curtain shield airbags do not generally
inflate if the vehicle is involved in a
rear collision, if it pitches end over end, or if
it is involved in a low-speed side or low-speed
frontal collision.
- Collision from the rear
- Pitching end over end

■When to contact your Lexus dealer
In the following cases, the vehicle will
require inspection and/or repair. Contact
your Lexus dealer as soon as possible.
- Any of the SRS airbags have been
inflated.
- The front of the vehicle is damaged or
deformed, or was involved in an accident that was not severe enough to cause
the
SRS front airbags to inflate.

- A portion of a door or its surrounding
area is damaged, deformed or has had a
hole made in it, or the vehicle was
involved in an accident that was not
severe enough to cause the SRS side and
curtain shield airbags to inflate.

- The pad section of the steering wheel,
dashboard near the front passenger airbag
or lower portion of the instrument
panel is scratched, cracked, or otherwise
damaged.

- The surface of the seats with the SRS side
airbag is scratched, cracked, or otherwise
damaged.

- The portion of the front pillars, rear pillars
or roof side rail garnishes (padding) containing
the SRS curtain shield airbags
inside is scratched, cracked, or otherwise
damaged.

WARNING
■SRS airbag precautions
Observe the following precautions
regarding the SRS airbags.
Failure to do so may cause death or serious
injury.
- The driver and all passengers in the
vehicle must wear their seat belts
properly.
The SRS airbags are supplemental
devices to be used with the seat belts.
- The SRS driver airbag deploys with
considerable force, and can cause
death or serious injury especially if the
driver is very close to the airbag. The
National Highway Traffic Safety
Administration (NHTSA) advises:
Since the risk zone for the driver's airbag
is the first 2 - 3 in. (50 - 75 mm) of
inflation, placing yourself 10 in. (250
mm) from your driver airbag provides
you with a clear margin of safety. This
distance is measured from the center
of the steering wheel to your breastbone.
If you sit less than 10 in. (250
mm) away now, you can change your
driving position in several ways:
- Move your seat to the rear as far as
you can while still reaching the pedals
comfortably.
- Slightly recline the back of the seat.
Although vehicle designs vary, many
drivers can achieve the 10 in. (250
mm) distance, even with the driver seat
all the way forward, simply by reclining
the back of the seat somewhat. If
reclining the back of your seat makes it
hard to see the road, raise yourself by
using a firm, non-slippery cushion, or
raise the seat if your vehicle has that
feature.
- If your steering wheel is adjustable, tilt
it downward. This points the airbag
toward your chest instead of your head
and neck.
The seat should be adjusted as recommended
by NHTSA above, while still
maintaining control of the foot pedals,
steering wheel, and your view of the
instrument panel controls.
- If the seat belt extender has been connected
to the front seat belt buckles
but the seat belt extender has not also
been fastened to the latch plate of the
seat belt, the SRS front airbags will
judge that the driver and front passenger
are wearing the seat belt even
though the seat belt has not been connected.
In this case, the SRS front airbags
may not activate correctly in a
collision, resulting in death or serious
injury in the event of a collision. Be
sure to wear the seat belt with the seat
belt extender.

- The SRS front passenger airbag also
deploys with considerable force, and
can cause death or serious injury
especially if the front passenger is very
close to the airbag. The front passenger
seat should be as far from the airbag
as possible with the seatback
adjusted, so the front passenger sits
upright.
- Improperly seated and/or restrained
infants and children can be killed or
seriously injured by a deploying airbag.
An infant or child who is too small to
use a seat belt should be properly
secured using a child restraint system.
Lexus strongly recommends that all
infants and children be placed in the
rear seats of the vehicle and properly
restrained. The rear seats are safer for
infants and children than the front passenger
seat.
- Do not sit on the edge of the seat or
lean against the dashboard.

- Do not allow a child to stand in front of
the SRS front passenger airbag unit or
sit on the knees of a front passenger.

- Do not allow the front seat occupants
to hold items on their knees.
- Do not lean against the door, the roof
side rail or the front, side and rear pillars.

- Do not allow anyone to kneel on the
passenger seats toward the door or
put their head or hands outside the
vehicle.


- Do not attach anything to areas such
as a door, windshield, side window,
front or rear pillar, roof side rail and
assist grip.

- Do not hang coat hangers or other
hard objects on the coat hooks. All of
these items could become projectiles
and may cause death or serious injury,
should the SRS curtain shield airbags
deploy.
- If a vinyl cover is put on the area where
the SRS knee airbag will deploy, be
sure to remove it.
- Do not use seat accessories which
cover the parts where the SRS side airbags
inflate as they may interfere with
inflation of the SRS airbags. Such
accessories may prevent the side airbags
from activating correctly, disable
the system or cause the side airbags to
inflate accidentally, resulting in death
or serious injury.
- Do not strike or apply significant levels
of force to the area of the SRS airbag
components or the front doors.
Doing so can cause the SRS airbags to
malfunction.
- Do not touch any of the component
parts immediately after the SRS airbags
have deployed (inflated) as they
may be hot.
- If breathing becomes difficult after the
SRS airbags have deployed, open a
door or window to allow fresh air in, or
leave the vehicle if it is safe to do so.
Wash off any residue as soon as possible
to prevent skin irritation.
- If the areas where the SRS airbags are
stored, such as the steering wheel pad
and front and rear pillar garnishes are
damaged or cracked, have them
replaced by your Lexus dealer.
- Do not place anything, such as a cushion,
on the front passenger's seat.
Doing so will disperse the passenger's
weight, which prevents the sensor
from detecting the passenger's weight
properly. As a result, the SRS front airbags
for the front passenger may not
deploy in the event of a collision.
■Modification and disposal of SRS airbag
system components
Do not dispose of your vehicle or perform
any of the following modifications
without consulting your Lexus dealer.
The SRS airbags may malfunction or
deploy (inflate) accidentally, causing
death or serious injury.
- Installation, removal, disassembly and
repair of the SRS airbags
- Repairs, modifications, removal or
replacement of the steering wheel,
instrument panel, dashboard, seats or
seat upholstery, front, side and rear pillars,
roof side rails, front door panels,
front door trims or front door speakers
- Modifications to the front door panel
(such as making a hole in it)
- Repairs or modifications of the front
fender, front bumper, or side of the
occupant compartment
- Installation of a grille guard (bull bars,
kangaroo bar, etc.), snow plows,
winches or roof luggage carrier
- Modifications to the vehicle's suspension
system
- Installation of electronic devices such
as mobile two-way radios and CD
players
- Modifications to your vehicle for a person
with a physical disability
READ NEXT:
Your vehicle is equipped with a front passenger occupant classification
system.
This system detects the conditions of the front passenger seat and activates or
deactivates the front passenger ai
Riding with children
Observe the following precautions
when children are in the vehicle.
Use a child restraint system appropriate
for the child, until the child
becomes large enough to properly
Lexus Enform Safety Connect
Safety Connect is a subscriptionbased
telematics service that uses
Global Positioning System (GPS)
data and embedded cellular technology
to provide safety and security
SEE MORE:
DESCRIPTION This DTC is stored when the engine does not start even though the STA signal is input or when the engine takes a long time to start, and when the engine speed is low or the engine stalls just after the engine starts. Using the Techstream, the conditions present when the DTC was stored ca
TERMINALS OF ECM ECM HINT: The standard voltage and resistance of each ECM terminal is shown in the table below. In the table, first follow the information under "Condition". Look under "Terminal No. (Symbol)" for the terminals to be inspected. The standard voltage or resistance between the termina
© 2016-2025 Copyright www.lexguide.net
