Lexus ES: Disposal
DISPOSAL
PROCEDURE
1. DISPOSE OF BRAKE BOOSTER PUMP ASSEMBLY
(a) Remove the accumulator from the brake booster pump assembly.
(b) Secure the accumulator in a vise.
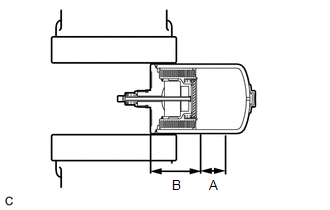
(c) Using a hacksaw, make a cut in the side of the accumulator within location (A) to release the high-pressure gas.
| Location | Length |
| A | 25 mm (0.984 in.) |
| B | 60 mm (2.36 in.) |
-
Wear protective glasses.
-
Small pieces of metal may fly out when cutting into the accumulator. Put a cloth over the hacksaw when cutting the accumulator. Cut the accumulator slowly so that the gas will be released gradually.
HINT:
Nitrogen gas, which is colorless, odorless and harmless, will be discharged.
READ NEXT:
INSPECTION PROCEDURE 1. INSPECT BRAKE BOOSTER PUMP ASSEMBLY (a) Measure the resistance according to the value(s) in the table below. Standard Resistance: Tester Connection Condition Specifi
INSTALLATION PROCEDURE 1. INSTALL NO. 1 BRAKE TUBE CLAMP BRACKET (a) Install the No. 1 brake tube clamp bracket to the brake booster pump assembly with the bolt. Torque: 7.0 N·m {71 kgf·cm, 62 in·
REMOVAL CAUTION / NOTICE / HINT The necessary procedures (adjustment, calibration, initialization, or registration) that must be performed after parts are removed, installed, or replaced during brake
SEE MORE:
FAIL-SAFE CHART HINT: If the power source voltage to the multiplex tilt and telescopic ECU returns to normal within 10 seconds during tilt or telescopic operation, the operation will be resumed. If it returns to normal after 10 seconds have elapsed, the operation restarts when a tilt or telescopic o
DESCRIPTION This DTC is stored when items controlled by the air conditioning amplifier assembly cannot be customized via the audio and visual system vehicle customization screen. HINT: The air conditioning amplifier assembly controls the air conditioning system related items that are customizable vi
© 2016-2026 Copyright www.lexguide.net
